商务网站开发,商务网站开发工作内容
本文导读: 电子商务网站的开发流程包括电子商务网站的开发流程主要分为以下几步:电子商务网站开发立项梳理网站的架构数据库模型搭建网站开发流程梳理以及网站页面设计安排技术人员进行电商网站程序开发已写好的程序与页面进行嵌套开发好的网站进行调试测试bug电商网站进行内部的测试,为后期的上线做准备。
电子商务网站的开发流程包括
电子商务网站的开发流程主要分为以下几步:电子商务网站开发立项 梳理网站的架构 数据库模型搭建 网站开发流程梳理以及网站页面设计 安排技术人员进行电商网站程序开发 已写好的程序与页面进行嵌套 开发好的网站进行调试测试bug 电商网站进行内部的测试,为后期的上线做准备。
基本流程是这样的:首页要注册域名,从搜索引擎抓取和用户角度出发,应该选com、cn、net这种顶级域名,并且一定要短,容易记通俗易懂。
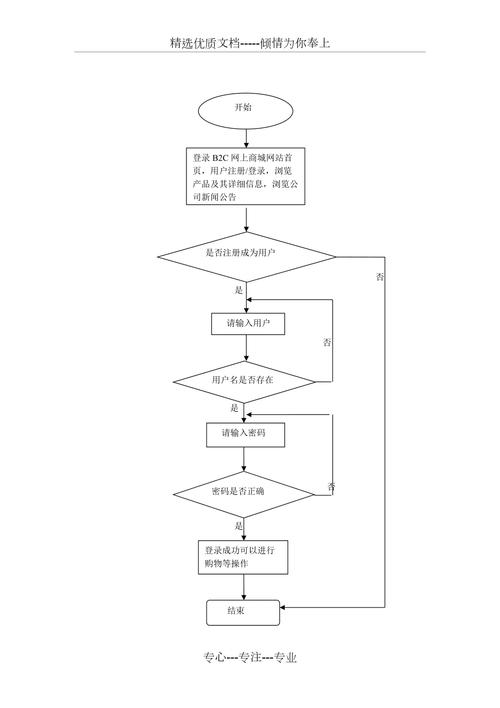
网站需要实现哪些功能;网站开发使用什么软件,在什么样的硬件环境;需要多少人,多少时间;需要遵循的规则和标准有哪些。
电子商务网站建站的流程:申请域名+选购技术性商品:自身开发设计必须租用服务器、数据库查询等;定制或模板建站必须选购建站商品。将选购的网站域名开展备案,另外刚开始网站设计。解析域名:在网站域名备案后必须将网站制作与顶尖浏览网站域名连接起来,因而关联网站域名并域名解析。
第三就是支持多种国内外主流信用卡的在线支付。在这儿同时要考虑到安全性,你的数据库的安全性,以及你的网站的安全性!需要商品检索,商品采购,订单系统 这几个系统是电子商务网站必须得有的,也是电子商务的应用的最基本系统。

商务网站开发要注意的这些事项
『1』、制定网站开发的方案 网站开发的方案就是一个大纲,大纲制作好了,后面的发展才能够更加的顺利,在开发网站前要根据投资者的实际需求,选取适合的服务器,例如虚拟服务区或者是购买的服务器,这都要根据自己的发展需求而决定。
『2』、手头有每季度至少100万的推广费用 手头有一个专业的运营维护推广团队,包括服务器维护人员,网站设计人员,程序员,推广人员,运营策划人员,养这个团队的开支,每个少于100万就别想养活了 你有明确的交易目的用于这个网站,比如我确定要将某个批发市场的所有商户的交易都搬到网上去。
『3』、强制用户注册 很多网络商城只要打开浏览页面,就会先被要求注册,这让大部分用户感到厌恶和厌烦。实际上,消费者觉得这种商品适合自己的话,自然会进行登记购买,强制登记会让他们感到商城等级下降很多。
『4』、确立建站目的每一个企业在不同的商业阶段都会有不同的建站目的,因此我们应该在网站开始制作之前,确立1~2个建站目的,来规划日后建站方向,建站目的不建议超过三个,因为如果你想要的太多,就会出现什么都想要,什么都得不到的状况。
『5』、注意:需具备深厚的前端技术功底,熟悉前端新技术、新趋势,具备解决复杂问题的能力。前端架构师:职责:负责前端技术架构的设计、优化和升级,确保前端项目的稳定性和可扩展性。注意:需具备全局视野,熟悉前端技术生态,能够制定合理的技术选型方案。

电子商务网站建设需要注意哪些问题及解决方案
『1』、电子商务网站建设需要注意的问题及解决方案 域名选取 问题:域名是电商平台的网址,是用户访问的入口,选取不当可能导致用户难以记忆或访问。解决方案:选取一个简洁、易记且与电商平台业务相关的域名。可以借鉴《关于域名注册您不得不了解的5个事项》一文,确保域名注册合法、有效,并避免侵犯他人知识产权。
『2』、电子商务网站离不开内容 电子商务网站建设之前必须考虑如何突出内容,因为精心写作的内容不仅可以创造良好的用户印象,也能吸引一些潜在的客户,而且还可以协助建立客户对网站的忠诚度和信誉度。
『3』、开展电子商务应注意的问题有以下几点:构建良好的电子商务基础环境。首先确保网络环境的安全与稳定,包括建立网络安全防护系统,保护用户隐私和数据安全。其次,优化电子商务平台的运行环境,确保网站的稳定性和流畅性,避免因服务器过载或网络延迟导致的交易失败。
『4』、电子商务网站设计需要注意以下5个因素:界面清晰整洁。一个网站设计的精美与否很大程度上决定了是否愿意在这一页面停留更长时间做深入浏览。所以说设计精美的网店,更容易吸引顾客的眼球,经常光顾与此,久而久之便形成了一批忠实的顾客。调动色彩对情绪的影响力。

电子商务网站开发方案有几种?
『1』、通过我们提供的客户免费培训工程,一名普通的文员也能熟练掌握电子商务应用的操作技能,从而使用户以最少的投入,获得一个高度智能化的企业网站,并通过用户自身的管理使企业网站发挥最大化的效能,逐步提高企业的电子商务应用水平,实现传统企业向电子商务化,信息化转型。这样的话,对服务器架构那块要求比较高吧。 要源代码的话,得定制开发的。
『2』、如果您担心从头开始构建电子商务网站的复杂性,可以选取使用像Shopify这样的网站构建器。Shopify提供从域名创建到网站建设和销售点服务的全面业务解决方案。一旦选取了适合您业务的网站构建器,就可以开始对其进行自定义并添加产品。
『3』、解决方案有以下几种:专注平台打造 :B2B网站最基本的功能是商务平台的搭建。B2B网站发展的三个阶段分别是:信息平台阶段、交易平台阶段,互信平台阶段。B2B网站的初级阶段只是给广大商家提供了买卖信息的平台,通过聚拢众多的买卖信息,从而吸引更多的商业会员加入进来,他们在平台里寻找买家和卖家。
『4』、管理型。管理型网站是企业、公司和行政教育等机构,将传统业务迁移到网络的应用界面,如公司、机构的办公系统。〖伍〗综合型。综合型网站是把上述类型网站的功能综合集成。

我想创办一个C2B模式的电子商务网站请问需要多少投入,找哪方面的人帮助...
『1』、找人帮助方面 专业技术人员:寻找具备电子商务、网站开发经验的团队或个人,负责网站的设计与开发。市场推广专家:寻找具有市场推广经验的人才,负责网站的推广与品牌建设。数据分析师:负责分析用户行为、市场趋势等数据,为决策提供支持。学习知识方面 电子商务运营:了解电子商务的基本概念、运营模式与策略。
『2』、团队建设方面,需寻找具备电子商务、网站开发、市场推广、数据分析等多方面专业技能的人才。可以是内部培养,通过培训课程、行业交流与实践项目实现技能提升。外部合作也是选项之一,通过外包公司、询问顾问或联合创始人引入所需资源与经验。
『3』、c2b是电子商务模式的一种,即消费者对企业(customertobusiness)。最先由美国流行起来的消费者对企业(c2b)模式也许是一个值得关注的尝试。
『4』、此外,要啥网和逛下团也是C2B商务模式的典型代表。要啥网以智能、精准匹配用户需求与供应为特点,提供个性化的商品和服务;逛下团则主打C2B多人同时拼团的电商模式,涵盖多个商品类别,满足消费者的团购需求。这些网站都展示了C2B商务模式在不同领域的应用和优势。
『5』、猪八戒网:一个专注于创意服务的C2B电子商务平台,为需求方与创意服务提供者搭建互动桥梁,实现个性化的商业服务交易。威客网:一个以C2B模式为主的众包服务网站,提供设计、编程、数据分析等多种专业服务的在线交易,推动创新的众包服务模式。
